Question
Describe, with the aid of a sketch, an instrument type earth
leakage detector.
State why an instrument type detector may be fitted in
preference to simple earth lamps
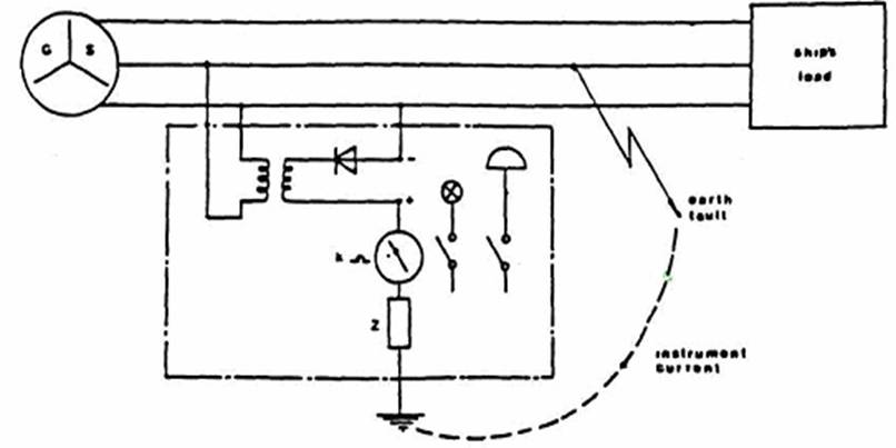
One common type of earth fault instrument injects a small
direct (dv) voltage into the distribution system, the
resulting current being measured to indicate the insulation resistance of the
system.


The instrument permits a maximum earth monitoring current of
only 1mA (compared with about 60mA for earth lamps), and
indicates insulation resistance directly in kΩ.
The instrument gives both visual and audible indication in
the event of an earth fault.
The instrument can be set to trigger the alarm at any preset
value of insulation resistance or leakage current.
This type of arrangement has been developed to meet the
regulations which demand that on tankers, for circuits in or passing through
hazardous zones, there must be continuous monitoring of the system insulation
resistance.
Visual and audible alarms are given if the insulation
resistance falls below a preset critical value.
Lamp method
Earth fault indicators can be either a set of lamps or an
instrument calibrated in KΩ to show the system insulation resistance
value to earth.

Earth indication lamps are arranged as shown above. If the
system is healthy (no earth faults) then the lamps glow with equal half
brilliance.
If an earth fault occurs on one line, the lamp connected in
that the line is dim or extinguished and the other lamps glow brighter.
Earth indication lamps have been the most common method used
for many years, being inexpensive and simple.
Their major disadvantage is that they are not very sensitive
and will fail to indicate the presence of a high impedance earth fault.
This has lead to the development of ‘instrument type’ earth
fault indicators which are being increasingly used.